갑상선 절제술 후 배액관 유치가 혈종 예방에 도움이 되는가?
Does the Drain Can Prevent Hematoma After Thyroidectomy?
Article information
Trans Abstract
Background and Objectives
Post-thyroidectomy hematoma is reported in about 0.7%- 2.1% of patients who underwent thyroidectomy. A drain is frequently placed after surgery to prevent swelling and hematoma. This study aims to compare clinical differences and postoperative complications depending on the presence or absence of a drain, and to identify the factors affecting hematoma after thyroidectomy.
Subjects and Method
This is a retrospective study of patients who underwent conventional thyroidectomy from March 2019 to Jun 2023. We examined patient’s age, gender, underlying diseases, use of antithrombotic drug, surgery type, thyroid volume, length of hospital stay and postoperative complications (hematoma and vocal cord palsy) by examining medical records.
Results
Of 587 patients enrolled in the study, the drain was placed in 369 (62.9%) patients, and not in 218 (37.1%) patients. The mean age, incidence of hypertension and Grave’s disease comorbidity, antithrombotic drug use, number of patients who underwent neck dissection, thyroid volume, operating time, and length of hospital stay were significantly higher in the drain placed group (p<0.05). But there was no significant difference in the ratio of vocal cord palsy and hematoma occurrence between the two groups. In logistic regression analysis, diabetes, the use of antithrombotic drugs, neck dissection, and larger thyroid volume were identified as risk factors for the occurrence of hematoma (p<0.05).
Conclusion
Surgeons tended to place the drain in patients with high bleeding tendency after thyroidectomy, but there was no difference in the incidence of hematoma according to drain placement. Rather, patients’ length of hospital stay increased due to the placement of drain.
서 론
갑상선은 후두와 기관의 앞쪽에 위치하며 혈류 공급이 많은 조직이다. 갑상선 수술 후 출혈로 발생하는 혈종은 약 0.7%-2.1%에서 보고되며 이는 적은 양으로도 기도 및 내경정맥을 압박하여 호흡곤란을 일으켜 환자의 생명을 위협하는 심각한 합병증이다[1-4]. 갑상선 수술 후 배액관 유치술은 수술 후 발생하는 혈액 및 체액을 체외로 배출하기 위한 방법으로 오래전부터 시행되었는데, 배액관을 삽입하면 출혈의 양상을 확인할 수 있으며 수술 부위에 혈액과 체액의 저류를 막아 사강(dead space)을 줄여주어 환자의 원활한 회복에 도움을 줄 수 있다[5,6]. 하지만 배액관으로 인한 통증 및 거동의 불편함, 배액관을 통한 수술 부위 감염 위험성, 배액관 삽입으로 인한 흉터, 배액관 관리를 위한 환자 재원기간의 증가 등으로 인한 배액관 사용의 효용성에 대한 문제 제기는 꾸준히 있었다[6-9]. 갑상선 절제술 후 배액관 삽입 여부에 따른 혈종 및 장액종, 성대마비 등의 합병증 발생률의 차이가 없다는 메타분석 연구가 보고된 바 있으며[10], 또한 Maroun 등[11]은 수술 후 배액관 유치가 심지어 혈종을 예방하는 데에도 도움을 주지 못한다고 보고하였다. 국내에서도 편측 갑상선 수술 후 배액관 사용 여부에 따른 합병증 발생의 차이가 없다는 보고가 있다[12]. 그럼에도 불구하고 수술 후 혈종 발생에 대한 우려는 많은 외과의들로 하여금 수술 후 배액관 유치에 대해 고민하게 한다. 본 논문에서는 선택적 측경부 임파선 곽청술을 포함한 고식적 갑상선 절제술 후 배액관 유치 여부에 따른 환자군의 임상학적 특성, 수술시간, 재원기간 및 합병증 발생의 차이 등을 비교해 보고 갑상선 절제술 후 수술적 중재가 필요한 혈종 발생에 영향을 미치는 인자에 대해 조사해 보고자 한다.
대상 및 방법
대상환자 및 환자요인
본 연구는 의학연구윤리심사위원회(Institutional Review Board, IRB)의 승인을 받아(IRB No. 2023-10-013) 2019년 3월부터 2023년 6월까지 본원에서 양성 및 악성 갑상선 질환을 주소로 선택적 측경부(level II-IV) 임파선 곽청술을 포함한 고식적 갑상선 절제술을 시행 받은 환자를 대상으로 한 후향적 연구이다. 환자들의 성별, 나이, 체질량지수(body mass index, BMI), 흡연력, 고혈압 및 당뇨의 기저질환 여부, 항혈전제 복용력, 갑상선 질환의 종류, 갑상선 수술 과거력 등을 조사하였다.
수술의 적응증: 수술방법 및 수술시간
본 연구에서 고식적 갑상선 절제술 시행의 적응증은 재발 및 임파선 전이를 포함한 갑상선 암종, 양성 갑상선 결절, 그레이브스병과 하시모토 갑상선염을 포함한 갑상선 종대로 구분하였다. 수술은 세 명의 숙련된 두경부외과 전문의에 의하여 편측 갑상선 절제술, 완전 갑상선 절제술, 갑상선 전절제술이 시행되었으며, 갑상선 암으로 진단되어 전절제술을 시행한 환자들 중 일부에서는 경부 level II-IV의 선택적 측경부 임파선 곽청술(selective lateral neck dissection)이 함께 시행되었다. 경부 임파선으로의 전이가 광범위하여 half apron incision 등으로 절개 범위를 넓혀 경부 임파선 근치술(radical neck dissection) 혹은 변형 경부 임파선 근치술(modified radical neck dissection) 등을 시행한 경우에는 보통 배액관을 삽입하게 되며 수술 범위가 크게 확대된다고 판단하여 연구 대상에서 제외하였다. 수술시간은 수술 부위 절개가 시작된 시점부터 수술 부위 봉합이 끝나는 시점을 기준으로 하였다.
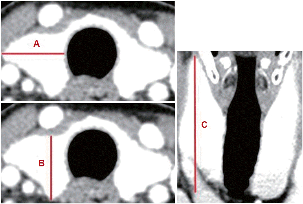
전산화단층촬영검사(CT)를 통한 갑상선 부피 측정
본 연구에서는 갑상선의 부피가 커질 경우에도 수술 범위가 커질 수 있으며 이는 수술 후 출혈 및 합병증 발생과 연관이 있을 것으로 가정하여 환자들의 수술 전 갑상선 크기를 측정하였다. 경부 조영증강 전산화단층촬영(enhanced neck CT)은 수술 전 모든 환자에서 시행되는데, Shabana 등[13]은 ‘부피(volume, mL)=최대너비(width, mm)×최대 깊이(depth, mm)×최대길이(length, mm)×교정계수(0.529)’라는 CT를 사용한 갑상선 부피 측정법을 제시하였고, 본 연구에서는 이를 이용하여 갑상선 부피를 측정하였다(Fig. 1). 물론 갑상선의 모양에 따라 이와 같은 방법이 정확하지 않을 수 있으나, 각 수치의 실측값을 바탕으로 부피를 구하였기 때문에 대체로 실제 부피와 비례할 것이라 가정하였다. 편측 갑상선 절제술의 경우 수술 방향에 해당하는 일측 갑상선의 부피만 측정하였으며, 갑상선 전절제술의 경우 양측 갑상선 모두의 부피를 측정하였다.
재원기간 및 합병증
모든 환자들은 수술 후 일정 기간의 회복기를 거친 후 퇴원하였고 이에 따른 수술 후 재원 기간을 확인하였다. 배액관을 유치한 환자의 경우 8시간 간격으로 배액의 양상을 확인하였으며, 24시간 배액량 20-30 mL를 기준으로 집도의의 판단에 따라 배액관 제거를 시행하였다. 대부분의 환자들은 배액관 제거 후 수술 부위 부종 확인을 위해 배액관을 제거한 이튿날 퇴원하였다.
일반적으로 알려진 갑상선 수술 후 발생하는 합병증은 수술 부위 감염, 혈종 및 장액종, 성대 마비와 저칼슘혈증 등이 있다. 본 연구에서 확인된 수술 부위 감염은 단 한 건 밖에 발생하지 않았으며, 저칼슘혈증의 경우 배액관 유치 여부와 큰 연관이 없을 것으로 판단하여 제외하였다. 소량의 혈종 및 장액종은 수술 부위 주변 연조직의 붓기, 수술 시 적용하는 지혈제 및 충전제 등과 섞일 경우 확실한 구분이 힘들기 때문에 부종으로 환자에서 호흡곤란 등의 증상을 일으켜 수술적 중재가 필요하였던 급성 혈종만을 혈종 합병증의 발생 기준으로 하였다. 성대마비의 경우 재원기간 및 외래를 통한 추적관찰시 연성 및 경성 내시경을 통해 확인하였다. 일반적으로 갑상선 절제술 후 성대마비의 발생률은 약 3.5%-6.6%로 보고되고 있으며, 이 중 약 93% 환자에서 6개월 이내에 자발 회복을 기대해 볼 수 있어 영구적 성대 마비로 이행하는 경우는 드물다[14,15]. 본원에서는 수술 후 6개월 이후까지 꾸준히 이비인후과 외래로 추적 관찰하는 환자의 수는 많이 줄어들어 영구적 성대마비에 대한 정확한 평가가 어렵기 때문에 본 연구에서는 수술 후 6개월 이내 일시적으로 발생한 성대마비만을 합병증의 대상으로 조사하였다.
통계학적 분석
통계적 분석을 위해 SPSS 21.0 (IBM Corp., Armonk, NY, USA)과 GraphPad Prism version 8 (GraphPad Software, La Jolla, CA, USA)을 사용하여 독립표본 t검정(Independent t-test), 카이제곱 검정(chi-square test), 로지스틱 회기분석(logistic regression analysis) 방법을 사용하였으며 모든 그룹 사이의 통계적인 유의한 차이는 p-value 가 0.05 미만인 경우로 선정하였다.
결 과
수술을 시행 받은 전체 환자는 587명이며 이 중 369명에서 배액관을 유치하였고 218명에서는 배액관을 유치하지 않았다. 두 그룹 모두에서 여성의 비율이 많았으며 두 그룹 사이 통계적으로 유의한 성비 차이는 없었다. 평균 나이는 배액관을 유치한 그룹에서 49.1±12.7세, 유치하지 않은 그룹에서 45.9±12.6세로 배액관을 유치한 그룹에서 유의하게 높았다(p=0.003). 두 그룹 사이 키, 몸무게, 체질량지수(BMI)는 유의한 차이가 없었다. 고혈압 유병률은 배액관을 유치한 그룹에서 31.7%, 유치하지 않은 그룹에서 21.6%로 배액관을 유치한 그룹에서 유의하게 높았으나(p=0.008), 당뇨병 유병률은 두 그룹 사이 유의한 차이가 없었다. 평소 항혈전제를 복용하는 환자의 비율은 배액관을 유치한 환자 그룹에서 8.7%, 유치하지 않은 그룹에서 3.7%로 배액관을 유치한 환자 그룹에서 유의하게 높았다(p=0.020). 수술의 적응증으로 갑상선암종의 비율은 배액관을 유치하지 않은 그룹에서 90.8%로 배액관을 유치한 그룹의 71.5%보다 유의하게 높았고(p<0.001), 반대로 그레이브스병 유병률은 배액관을 유치한 그룹에서 4.6%, 유치하지 않은 그룹에서 1.4%로 배액관을 유치한 그룹에서 유의하게 높았으며(p=0.037), 하시모토 갑상선염 유병률의 경우 두 그룹 사이 유의한 차이가 없었다. CT를 통해 측정한 갑상선의 평균 부피는 배액관을 유치한 환자그룹에서 각각 편측 갑상선 절제술시 18.8±19.7 mL 갑상선 전절제술시 34.0±38.1 mL로 배액관을 유치하지 않은 그룹의 14.1±14.8 mL, 20.9±13.0 mL보다 통계적으로 유의하게 컸다(p=0.012, p=0.005). 두 그룹 사이 편측 및 갑상선 전절제술 시행 비율은 통계적으로 유의한 차이가 없었다. 하지만 선택적 측경부 임파선 곽청술을 같이 시행한 환자의 비율은 배액관을 유치한 그룹에서 8.4%로 유치하지 않은 그룹에서의 3.7%보다 유의하게 높았다(p=0.026). 수술 시간 또한 배액관을 유치한 환자 그룹에서 각각 편측 갑상선 절제술시 99.9± 29.0분, 갑상선 전절제술시 146.3±54.6분으로 배액관을 유치하지 않은 환자 그룹의 89.6±17.6분, 126.9±32.6분보다 유의하게 길었다(p<0.001, p=0.006). 수술 후 평균 재원기간 또한 배액관을 유치한 환자 그룹에서 각각 편측 갑상선 절제술시 4.6±2.0일, 갑상선 전절제술시 6.5±3.8일로, 배액관을 유치하지 않은 그룹의 2.2±1.0일, 4.3±2.7일보다 유의하게 길었다(p<0.001). 수술 후 합병증 발생률에선 일시적 성대마비의 경우 두 그룹 사이 유의한 차이가 없었으며 수술적 중재가 필요한 혈종의 발생률 또한 배액관을 유치한 환자 그룹에서 2.4%, 유치하지 않은 환자 그룹에서 1.3%로 두 그룹 사이에 유의한 차이가 없었다(Table 1).
갑상선 수술 후 수술적 중재가 필요한 혈종의 발생률에 영향을 미치는 인자를 찾기 위해 로지스틱 회기 분석을 시행하였고 그 결과 당뇨 유병률(p=0.008), 항혈전제 복용(p=0.017), 평균 이상의 갑상선 부피(p=0.008), 선택적 측경부 임파선 곽청술을 같이 시행(p=0.001) 등이 그 위험인자로 나타났으며 나이, 성별, 키, 체중, BMI, 고혈압 유병률, 흡연, 갑상선 암종, 그레이브스병, 하시모토 갑상선염, 이전 갑상선 수술 과거력, 갑상선 전절제술 시행, 배액관 삽입, 수술 시간 등은 수술적 중재가 필요한 혈종의 발생과 유의한 연관성을 보이지 않았다(Table 2).
고 찰
갑상선 절제술 후 발생한 혈종은 드문 합병증이지만 경우에 따라 호흡곤란을 초래할 수 있으며, 질식에 이어 심정지 또는 심지어 사망을 초래할 수 있어 즉각적인 수술적 중재가 필요할 수 있다. 본 연구에서 확인된 혈종의 발생률은 12명(2.0%)으로 이는 기존의 보고와 일치하였다[1-3]. 수술 후 배액관을 유치한 그룹에서 배액관을 유치하지 않은 그룹에서보다 환자들의 평균 나이, 고혈압 유병률, 항혈전제 사용 비율, 그레이브스병 유병률, 갑상선 부피, 선택적 측경부 임파선 곽청술 시행 비율, 수술시간, 재원기간 등이 유의하게 큰 경향을 보였고, 합병증인 성대마비 및 수술적 중재가 필요한 혈종의 발생률의 유의한 차이가 없다는 것이 기존 연구와 일치하였다(Table 1) [10,11]. 또한 로지스틱 회귀 분석 결과 당뇨 동반, 항혈전제 사용, 선택적 측경부 임파선 곽청술 시행, 갑상선 부피가 수술적 중재가 필요한 혈종 발생의 위험인자로 확인되었다(Table 2). 이 중 당뇨병 동반, 항혈전제 사용, 임파선 곽청술의 시행의 경우 이미 이전 연구에서 수술적 중재가 필요한 혈종 발생의 위험 요인으로 지목된 바 있다[16,17]. 하지만 이전 연구에서 혈종의 발생과 유의한 연관성을 보였던 그레이브스병 동반, 일측 갑상선 절제술이 아닌 양측 갑상선 절제술 등은 본 연구에서는 유의하지 않았으며 배액관의 유치 또한 수술적 중재가 필요한 혈종 발생에 유의한 연관성이 없었다[2,11,16,17]. 이 중 그레이브스병의 경우 갑상선 실질 내 혈관의 과증식을 보이며 아래갑상동맥(inferior thyroid artery) 직경의 증가와 동반된 혈류량의 증가가 두드러져 수술 후 혈종 발생의 위험요인으로 보고된 바 있으나 본 연구에서는 이러한 연관성을 확인할 수 없었다[16-20].
본 연구에서 연관이 있을 것이라 가정하였던 CT를 사용하여 측정한 갑상선의 부피 또한 수술 후 혈종 발생과 유의한 연관성을 보였다. 현재 갑상선을 확인하는 가장 좋은 영상의학적 검사는 초음파이며 일찍이 Brunn 등[21]은 초음파를 사용하여 갑상선 부피를 측정하는 방법을 제시하였다. 하지만 초음파의 경우 탐측자에 따른 측정의 오차가 발생할 수 있으며, 또한 갑상선의 부피가 커지는 경우 정확한 수치측정이 어렵다. 무엇보다 일반적으로 수술 전 대부분의 환자에서 초음파를 통한 갑상선의 길이, 너비, 높이가 측정 및 기록되지는 않아 본 연구에서는 CT를 사용하여 갑상선의 부피를 측정하였다.
위와 같은 결과를 종합해 봤을 때 외과의들은 고혈압을 동반한 환자, 항혈전제를 평소 복용중인 환자, 그레이브스병 환자, 절제가 필요한 갑상선의 부피가 크거나 임파선 곽청술을 같이 시행하는 경우 등 출혈 경향이 높은 환자에서 수술 후 배액관을 유치하는 경향을 보였으나 결과적으로 배액관을 유치한 군과 유치하지 않은 군 사이에 수술적 개입이 필요한 혈종 발생률의 차이는 없었으며 배액관은 혈종의 발생과 통계적으로 유의한 연관성을 보이지 않았다. 그 이유에 대한 몇 가지 고찰을 해볼 수 있는데, 그중 하나는 출혈의 발생 위치이다. 보통 갑상선 절제술 후 배액관은 기관(trachea)과 갑상선이 있던 공간 사이 빈 공간인 사강(dead space)에 충전제 및 지혈제와 함께 위치하게 된다. 하지만 많은 경우에서 갑상선 절제술시 출혈은 수술을 위한 피판(flap) 형성시 전경정맥(anterior jugular vein)을 포함하는 피하정맥들 중 일부가 손상되며 발생하게 되는데 이 부위는 수술 후 자연스럽게 폐쇄되는 부분이며 배액관이 있는 위치와 띠 근육(strap muscle)으로 분리되게 되어 출혈이 발생하면 배액관으로 혈액의 원활한 배출이 이루어지기 힘들다. 만약 배액관이 들어간 위치인 띠 근육 안쪽에서 출혈이 발생하더라도 급성출혈시 배액관이 혈전 및 충전제 등으로 막혀 원활한 기능을 하지 못할 가능성이 있다. 본 연구에서의 경우 혈종이 발생하였던 모든 환자에서 압박 드레싱과 함께 배액관에 음압을 걸어주며 지속적으로 배액관을 조작하여 훑어내려(squeezing)하여 혈액의 배액이 이루어지도록 노력하였으나 위와 같은 이유로 소량씩만 혈액이 배액될 뿐 혈종을 해결해 주지는 못하였고 결과적으로 수술적 중재를 피해 갈 수는 없었다.
이전의 보고들과 같이 본 연구에서도 갑상선 수술 후 배액관을 유치한 그룹에서 재원기간이 유의하게 길었다(Table 1) [6,9,11,12]. 배액관 유치 및 관리로 인한 재원기간의 증가는 개인적 및 사회적 의료 비용의 증가를 야기한다. 단순한 비용 문제를 넘어 배액관을 사용 시 단점은 수술 후 환자의 삶의 질 측면인데 그중 첫 번째는 거동의 문제이다. 배액관이 수술 부위에 위치에 있게 되면서 움직일 시 배액관이 흔들리며 통증을 유발할 수 있으며, 착의 및 탈의를 포함한 거동 시 배액관 줄이 어딘가에 걸려 당겨진다면 이로 인한 수술 부위 손상을 일으킬 수 있게 때문에 환자의 거동이 제한되고 위축되게 된다. 두 번째 단점은 배액관 관리의 문제이다. 배액관은 체외로 연결되어 있는 통로로 이로 인한 수술 부위로의 감염이 발생할 수 있어 주의 깊은 관찰을 요하게 된다. 따라서 항생제의 사용 및 배액관 삽입 부위 소독을 필요로 하게 되고 환자의 샤워도 제한되며 경우에 따라 갑상선 수술로 인한 절개선 외에 배액관으로 인한 추가적인 흉터의 발생 우려도 있다. 만약 갑상선 수술 후 배액관을 유치하지 않는다면 환자의 통증도 줄어들고 거동이 자유로워 이에 따른 수술 후 더 빠른 회복을 기대해 볼 수 있다. 또한 배액관 관리가 필요 없으며 항생제를 사용하지 않아도 되고 샤워도 가능하여 배액관 삽입으로 인한 흉터도 걱정하지 않아도 된다. 이렇듯 갑상선 수술 후 배액관을 유치하지 않으면 재원기관의 감소와 더불어 재원기간 중 환자의 삶의 질도 증가시킬 수 있다. 물론 배액관을 유치하지 않는다면 수술 후 발생하는 작은 출혈조차도 체외로 배출될 수 없으므로 외과의들은 수술 후 지혈에 더 주의를 기울어야 한다. 갑상선 수술 후 발생하는 혈종의 대부분은 피판 형성 위치인 superficial level에서 발생한다는 보고가 있다[22]. 따라서 외과의들은 띠 근육 안쪽뿐만 아니라 특히 전경정맥을 포함한 superficial level에서의 출혈 및 지혈에 주의를 기울어야 하며 수술을 위한 피판 형성시 가능한 살릴 수 있는 혈관을 보전하는 것이 좋다. 이후에도 수술 부위에 체액 및 혈액의 저류로 인한 부종이 있을 수 있으나 심하지 않다면 경과 관찰해 볼 수 있으며, 경우에 따라 외래를 통한 추적 관찰시 경부 초음파를 통한 흡인(aspiration)으로 처치가 가능하다.
본 연구의 한계점은 본 연구는 후향적 연구이며 다기관이 아닌 단일기관 연구로 수술적 중재가 필요한 혈종이 발생한 환자의 표본 수가 충분하지 못하다는 점이다. 따라서 이전 연구들에서 혈종과 연관이 있을 것으로 추정하였던 그레이브스병 등의 몇몇 인자에서 혈종의 발생과 연관성이 없는 것으로 나타났는데 만약 다기관 연구로 표본수가 충분히 많았다면 위와 같은 항목들도 유의한 인자로 나타날 수도 있을 것이다. 또한 본 연구에서 수술은 세 명의 외과의에 의하여 이루어졌고 이로 인한 수술의 숙련도나 배액관 유치에 대한 집도의의 성향 차이가 있을 수 있으며 수술 후 배액관 유치의 기준이 명확히 정해져 있지 않고 집도의가 수술을 하며 고려하기 때문에 갑상선의 부피가 크거나 수술의 범위가 넓은 경우 또 수술 중 출혈이 많았던 환자에서 배액관을 넣게 되는 선택 편향의 오류로 비교하였던 여러 항목들에서 객관적인 비교가 이루어지지 않았을 수 있다. 그럼에도 불구하고 본 연구는 국내에서 거의 이루어지지 않은 범위를 막론한 고식적 갑상선 후 배액관 유치와 혈종발생의 관계 및 수술 후 혈종 발생의 위험인자 대해 고찰하였고, 이전 연구들에서 다루지 않았던 CT를 통한 갑상선 부피 측정이라는 방법을 도입하여 갑상선의 부피가 혈종의 발생 유의한 연관이 있다는 것을 추가적으로 확인한 점에서 그 의의가 있다. 갑상선 수술 후 발생하는 급성 혈종은 치명적일 수 있으나 앞선 연구들 및 본 연구를 바탕으로 이를 막기 위한 방법으로써 배액관의 사용은 집도의의 판단에 따라 조금 더 신중히 고려될 필요가 있다.
Acknowledgements
None
Notes
Author Contribution
Conceptualization: Phil-Sang Chung. Formal analysis: Sang Min Lee, Min Seok Kim. Methodology: Phil-Sang Chung, Sang Joon Lee, Seung Hoon Woo. Supervision: Phil-sang Chung, Sang Joon Lee, Seung Hoon Woo. Writing—original draft: Sang Min Lee. Writing—review & editing: Sang Min Lee, Phil-Sang Chung, Sang Joon Lee.
